长安链在v2.3.0版本中对共识模块进行了优化,主要包括优化TBFT消息机制并将异步发送信息功能进行了拆分,独立设计了一致性引擎模块。优化后共识模块整体逻辑更清晰、共识更高效。
TBFT消息机制优化背景
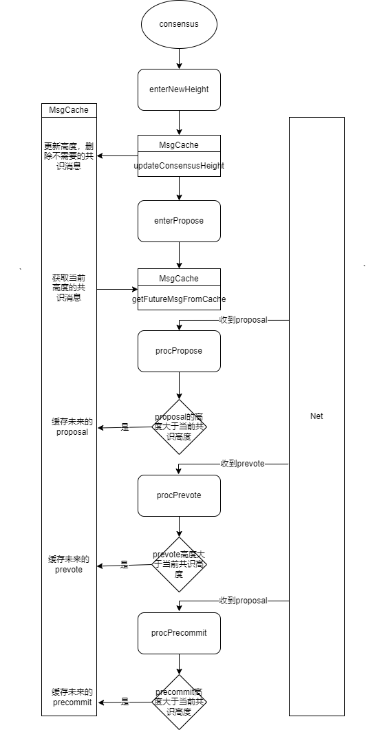
在长安链的V2.3.0版本的TBFT共识算法中,我们对TBFT共识算法进行了重构,主要是增加了对TBFT消息的缓存。在V2.3.0之前的版本,当一个TBFT节点收到来自某个节点的消息(主要是proposal提案消息、prevote预投票消息、precommit投票消息),但是如果这个共识消息的高度比当前节点的状态要高,TBFT会判断当前的共识高度和共识消息的高度不匹配,就会丢弃掉该消息。这么可能导致的后果就是,在节点未来达成这个消息的高度的时候,它需要该共识消息,而由于之前已经丢弃掉了该共识消息,因此它还需要等待其他节点再次把该共识消息重新发送过来,导致占用不必要的网络通信。
具体实现
在长安链在V.2.3.0版本中,TBFT共识增加了一个MsgCache,用来缓存未来的共识消息,目前TBFT是缓存未来10个高度的TBFT消息。当TBFT节点收到来自某个节点的共识消息,判断共识消息的高度是否大于当前共识状态的高度,如果是未来10个高度以内的共识消息,则会放入到MsgCache中。当TBFT共识进入到新的高度的时候,会从MsgCache内获取当前共识高度缓存的proposal和投票(包括prevote投票、precommit投票),然后将提案和投票放入到TBFT共识的消息管道内,以便TBFT共识能够快速获取到当前共识状态所需要的消息。同时在每个新的高度,TBFT会更新MsgCache内的共识高度,每10个高度,会清理一次MsgCache内比当前共识高度低的不再需要的共识消息。
流程图如下:

点击放大查看图片
实现方法如下:
// ConsensusFutureMsgCache 缓存未来的共识消息
type ConsensusFutureMsgCache struct{
logger protocol.Logger
sync.Mutex
size uint64
consensusHeight uint64
cache map[uint64]*ConsensusFutureMsg
}
// updateConsensusHeight 更新共识高度,删除不再需要的共识消息
func(cfc *ConsensusFutureMsgCache)updateConsensusHeight(height uint64);
// addFutureProposal 添加未来的提案到cache
func(cfc *ConsensusFutureMsgCache)addFutureProposal(logger protocol.Logger, validators *validatorSet,
proposal *tbftpb.Proposal);
// addFutureVote 添加未来的投票到cache
func(cfc *ConsensusFutureMsgCache)addFutureVote(logger protocol.Logger, validators *validatorSet,
vote *tbftpb.Vote);
// getConsensusFutureProposal 从cache获取提案
func(cfc *ConsensusFutureMsgCache)getConsensusFutureProposal(height uint64, round int32)*tbftpb.Proposal;
// getConsensusFutureProposal 从cache获取投票
func(cfc *ConsensusFutureMsgCache)getConsensusFutureVote(height uint64, round int32)*roundVoteSet;
一致性引擎方案设计及其成效
长安链PeerState模块异步发送共识过程中投票信息,并在其他节点未能成功收到投票造成状态落后时,异步补发投票信息。
我们将异步发送信息功能进行拆分,独立设计一致性引擎模块。共识流程中会直接发送提案/投票等信息,当接收方出现状态落后时,一致性引擎用于补发状态。优化后,逻辑更清晰,并且通过主流程直接发送和消息类型拆分的方式,极大的提高了共识性能。
| 序号 | 需求 |
| 1 | 拆分出独立模块(ConsistentEngine),TBFT可以不依赖新模块(理想情况)独立运行,如果出现网络问题(如丢包),会出现共识过程卡住的问题。 |
| 2 | ConsistentEngine辅助同步TBFT共识状态,避免出现共识过程卡住的问题。 |
| 3 | 监测其他节点状态,如果状态落后,推送新状态; 自己状态落后不做处理(等其他节点推送新状态)。 |
| 4 | ConsistentEngine可用于辅助同步MaxBFT共识状态。 |
| 5 | ConsistentEngine支持注册、回调的方式与tbft模块交互。 |

点击放大查看图片

点击放大查看图片
如上图所示,一致性引擎的启动随TBFT一起启动,启动时会初始化并完成注册,初始化远端节点信息,开启广播。关闭时,在TBFT关闭前,先关闭全部广播器,然后关闭TBFT共识服务。运行过程中,共识进入新的高度,读取链配置,如果有验证者变更,则触发一致性引擎远端信息的更新。

点击放大查看图片
发送端:运行后会为每个广播器创建定时器(当前仅使用TBFT状态广播器),当定时器到达定时时间(默认500ms),遍历所有远端节点共识状态,通过PreBroadcaster接口返回待发送消息,通过msgBus将待发送消息发送给接收方。全部消息发送后,重置定时器,等待下一轮消息同步。
接收端:收到消息后,遍历消息解析器(当前仅使用TBFT状态解析器),解析消息后,将节点信息进行更新。
接口设计
// ConsistentEngine 一致性引擎,用于节点间(共识状态)信息同步
type ConsistentEngine interface{
// Start 启动一致性引擎
// ctx 后续扩展用,启动失败返回error
Start(ctx context.Context)error
// Stop 停止一致性引擎
// ctx 后续扩展用,,停止失败返回error
Stop(ctx context.Context)error
// AddBroadcaster 添加状态广播器(如一个tbft状态广播器)
// id 广播器标识,需要保证唯一性
// broadcast 广播器,需要用户自己实现(如:tbft广播器、maxbft广播器)
AddBroadcaster(id string, broadcast StatusBroadcaster)error
// UpdateNodeStatus 更新本地状态
// id 节点标识,需要保证唯一性
// node 需要更新的节点信息(包含节点状态,节点状态可以有多种)
UpdateNodeStatus(id string, node Node)error
// PutRemoter 添加节点
// id 节点标识,需要保证唯一性
// node 需要添加的节点信息(包含节点状态,节点状态可以有多种)
PutRemoter(id string, node Node)error
// RemoveRemoter 删除节点
// id 节点标识,当节点不存在时返回错误消息
RemoveRemoter(id string)error
// RegisterStatusCoder 注册状态解析器
// decoderType 解析器标识,需要保证唯一性
// decoder 需要添加的解析器,由用户实现(如:tbft解析器)
RegisterStatusCoder(decoderType int8, decoder Decoder)error
// RegisterStatusInterceptor 注册过滤器
// interceptorType 过滤器标识,需要保证唯一性
// interceptor 需要添加的过滤器,由用户实现(如:tbft过滤器)
RegisterStatusInterceptor(interceptorType int8, interceptor StatusInterceptor)error
}
// StatusBroadcaster 状态广播器
// 由内部定时器触发广播
// 根据LocalNodeStatus和RemoteNodeStatus当前状态,确认是否进行状态广播
type StatusBroadcaster interface{
// ID 广播器标识
ID()string
// TimePattern 状态广播触发模式
// 返回触发间隔
TimePattern()interface{}
// PreBroadcaster 广播器,判断是否要发送消息
// 返回广播器方法
PreBroadcaster() Broadcast
// Start 启动
Start()error
// Stop 停止
Stop()error
// IsRunning 获取运行状态
IsRunning()bool
}
// Decoder 解析器
type Decoder interface{
// MsgType 解析器处理的消息类型
MsgType()int8
// Decode 解析器解析对应类型的消息,返回解析后数据对象
Decode(interface{})interface{}
}
ConsistentEngine方案应用成效
ConsistentEngine方案较PeerState方案在共识模块独立测试中,性能提升35.3%,具体信息如下:
| PeerState方案 | ConsistentEngine方案 | |
| 测试方法 | 共识模块测试床 | 共识模块测试床 |
| 环境 | 系统:macOS 12.5.1 处理器:2.6 GHz 6核 Intel Core i7 内存:16 GB | 系统:macOS 12.5.1 处理器:2.6 GHz 6核 Intel Core i7 内存:16 GB |
| 存储 | 不启用 | 不启用 |
| 网络 | 启用 | 启用 |
| 虚拟机 | 不启用 | 不启用 |
| 验证 | 不启用 | 不启用 |
| WAL | 不启用 | 不启用 |
| CTPS | 17W | 23W(提升35.3%) |
表2
注:上图性能数据是共识模块独立测试的性能数据,不同于区块链性能数据。