博主介绍:5年java开发经验,专注Java开发、定制、远程、文档编写指导等,csdn特邀作者、专注于Java技术领域
作者主页 超级帅帅吴
Java毕设项目精品实战案例《500套》
欢迎点赞 收藏 ⭐留言
文末获取源码联系方式
当今社会,随着科学技术的发展,以及市场经济的多元化,使人才的流动速度大大增加,因此也对党建工作的管理层面工作带来了空前且复杂的挑战, 从而使得如何高效的开展管理党建工作成为了亟待解决的问题。为此将高速发展的信息科学技术引入到党建工作管理的应用中,力求合理有效的提升全面各项工作的进展,实现以人为本的科学发展思想和意识,是一种高效可实现的方法。 Java作为一种面向对象的、可以撰写跨平台应用软件的程序设计语言,其技术具有卓越的通用性、高效性、平台移植性以及安全性,如今已广泛应用于 PC、数据中心、游戏控制台、科学超级计算机、移动电话和互联网等方面,大大方便了人们的生活、工作和娱乐。 而基于Java技术的党建工作管理平台,结合了Java技术,从而可起到规范党群业务流程,提高党群工作管理效率,对于党群工作定期提醒,以及完 成情况后的及时反馈,有效地提升党群工作管理的标准化程度的作用;进而实现党群工作的网上信息交流和交互办公,图片资料保存与共享等功能。
用户登录、修改密码、首页介绍、数据可视化树状图展示、用户管理、菜单管理、权限控制、角色管理、部门管理、角色管理、组织架构管理、系统sql监控、日志管理、通知公告管理、要闻管理、组织风采管理、资料管理、查看、上传富文本等、和查看下载附件信息。组织发展管理、考试管理以及退出等
登陆:根据用户角色权限进行登录、用户角色灵活控制。

系统主页:

用户管理:用户的模糊查询、添加、选择部门、角色和职位等信息、以及修改和删除等

职位管理:职位的模糊查询、添加、权限控制以及修改和删除等

菜单管理:菜单通过角色权限灵活控制、具体到按钮级别

SQL监控:

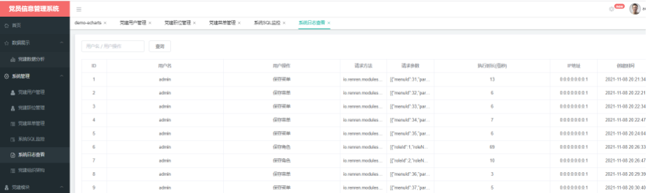
切面日志管理:

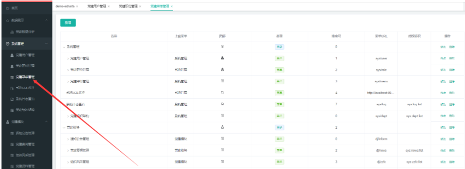
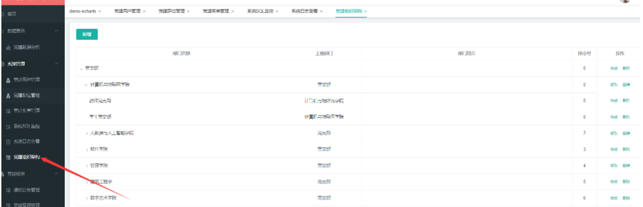
组织架构: 组织架构的模糊查询、添加、权限控制以及修改和删除等

通知公告模块:通知公告的模糊查询、添加、权限控制以及修改和删除等。和富文本笔记内容


新闻模块:


组织风采模块:


资料管理模块:



组织发展模块:

在线考试模块:

修改密码模块

用户登录验证
/*** 登录相关** @author lyy* */
@RestController
public class SysLoginController extends AbstractController {@Autowiredprivate SysUserService sysUserService;@Autowiredprivate SysUserTokenService sysUserTokenService;@Autowiredprivate SysCaptchaService sysCaptchaService;/*** 验证码*/@GetMapping("captcha.jpg")public void captcha(HttpServletResponse response, String uuid)throws IOException {response.setHeader("Cache-Control", "no-store, no-cache");response.setContentType("image/jpeg");//获取图片验证码BufferedImage image = sysCaptchaService.getCaptcha(uuid);ServletOutputStream out = response.getOutputStream();ImageIO.write(image, "jpg", out);IOUtils.closeQuietly(out);}/*** 登录*/@PostMapping("/sys/login")public Map login(@RequestBody SysLoginForm form)throws IOException {boolean captcha = sysCaptchaService.validate(form.getUuid(), form.getCaptcha());
// if(!captcha){
// return R.error("验证码不正确");
// }//用户信息SysUserEntity user = sysUserService.queryByUserName(form.getUsername());//账号不存在、密码错误if(user == null || !user.getPassword().equals(new Sha256Hash(form.getPassword(), user.getSalt()).toHex())) {return R.error("账号或密码不正确");}//账号锁定if(user.getStatus() == 0){return R.error("账号已被锁定,请联系管理员");}//生成token,并保存到数据库R r = sysUserTokenService.createToken(user.getUserId());return r;}/*** 退出*/@PostMapping("/sys/logout")public R logout() {sysUserTokenService.logout(getUserId());return R.ok();}
shiro权限拦截放行:
/*** Shiro配置** @author lyy*/
@Configuration
public class ShiroConfig {@Bean("securityManager")public SecurityManager securityManager(OAuth2Realm oAuth2Realm) {DefaultWebSecurityManager securityManager = new DefaultWebSecurityManager();securityManager.setRealm(oAuth2Realm);securityManager.setRememberMeManager(null);return securityManager;}@Bean("shiroFilter")public ShiroFilterFactoryBean shiroFilter(SecurityManager securityManager) {ShiroFilterFactoryBean shiroFilter = new ShiroFilterFactoryBean();shiroFilter.setSecurityManager(securityManager);//oauth过滤Map filters = new HashMap<>();filters.put("oauth2", new OAuth2Filter());shiroFilter.setFilters(filters);Map filterMap = new LinkedHashMap<>();filterMap.put("/webjars/**", "anon");filterMap.put("/druid/**", "anon");filterMap.put("/app/**", "anon");filterMap.put("/sys/login", "anon");filterMap.put("/swagger/**", "anon");filterMap.put("/v2/api-docs", "anon");filterMap.put("/swagger-ui.html", "anon");filterMap.put("/swagger-resources/**", "anon");filterMap.put("/captcha.jpg", "anon");filterMap.put("/aaa.txt", "anon");filterMap.put("/virtuel/**", "anon");filterMap.put("/image/**", "anon");filterMap.put("/**", "oauth2");shiroFilter.setFilterChainDefinitionMap(filterMap);return shiroFilter;}@Bean("lifecycleBeanPostProcessor")public LifecycleBeanPostProcessor lifecycleBeanPostProcessor() {return new LifecycleBeanPostProcessor();}@Beanpublic AuthorizationAttributeSourceAdvisor authorizationAttributeSourceAdvisor(SecurityManager securityManager) {AuthorizationAttributeSourceAdvisor advisor = new AuthorizationAttributeSourceAdvisor();advisor.setSecurityManager(securityManager);return advisor;}
前端vue element登录:
信息管理系统
系统登录
![]()
登录
获取源码:
大家点赞、收藏、关注、评论啦
🍅查看下方微信号获取联系方式 📝
🚀🚀🚀精彩系列推荐
Java毕设项目精品实战案例《500套》
精彩专栏推荐订阅:在下方专栏
上一篇:活动星投票国风正当红网络评选微信的投票方式线上免费投票
下一篇:【算法】哈希表