¥开放平台基础API必须用户授权
查询买家信息API,只能买家类应用调用。
公共参数
请求地址:
HTTP地址
http://gw.api.taobao.com/router/rest
公共请求参数:

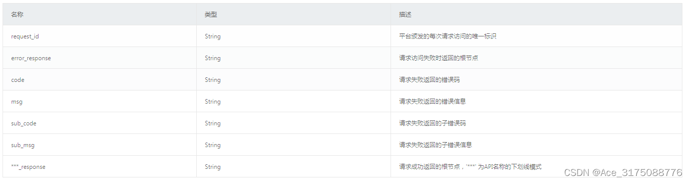
公共响应参数:

请求参数

响应参数

点击获取key和secret
请求示例
TaobaoClient client = new DefaultTaobaoClient(url, appkey, secret);
UserBuyerGetRequest req = new UserBuyerGetRequest();
req.setFields(“nick,sex”);
UserBuyerGetResponse rsp = client.execute(req, sessionKey);
System.out.println(rsp.getBody());
响应示例
hz0799
http://assets.taobaocdn.com/app/sns/img/default/avatar-120.png
m
50
Remote service error